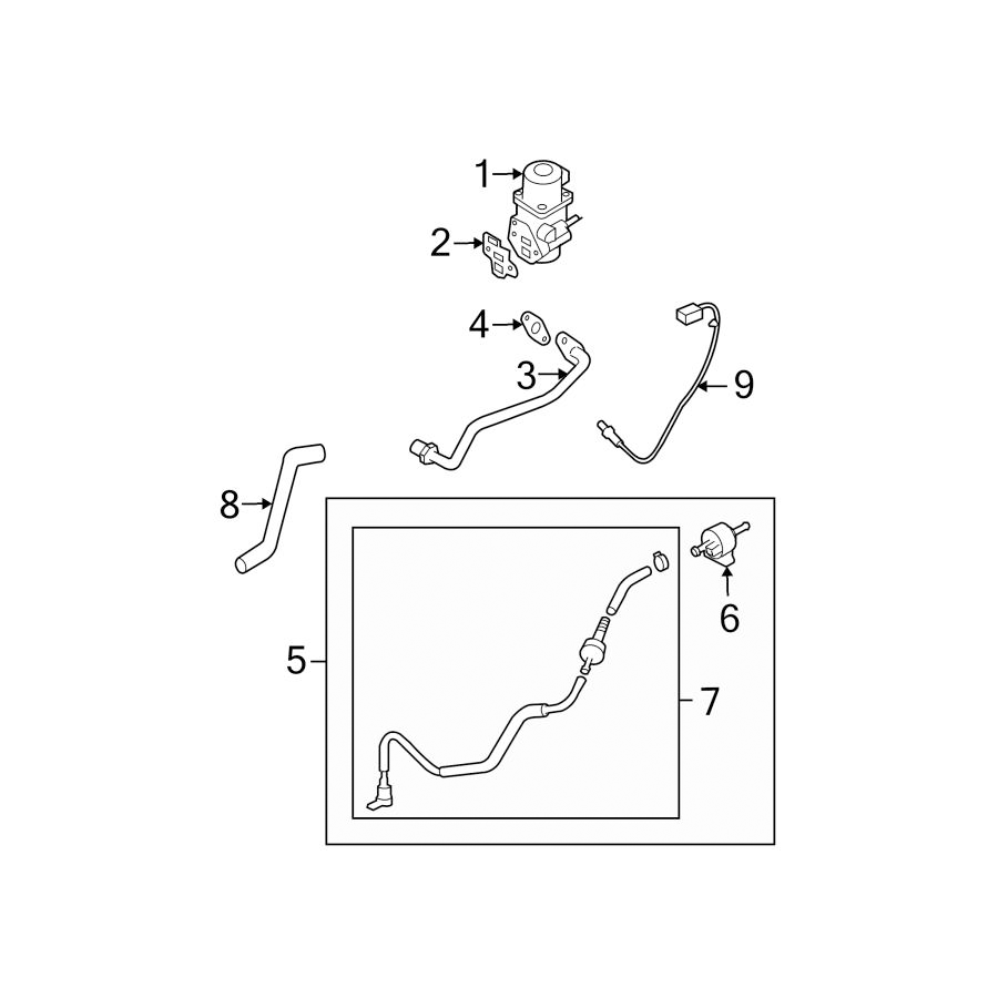
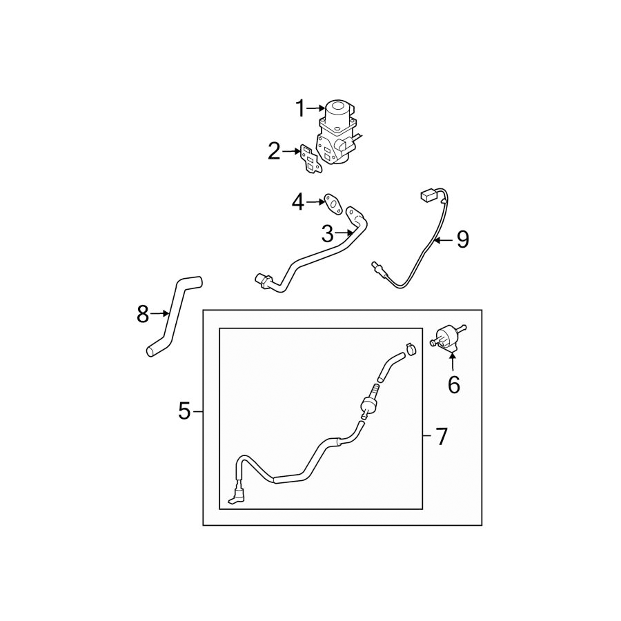
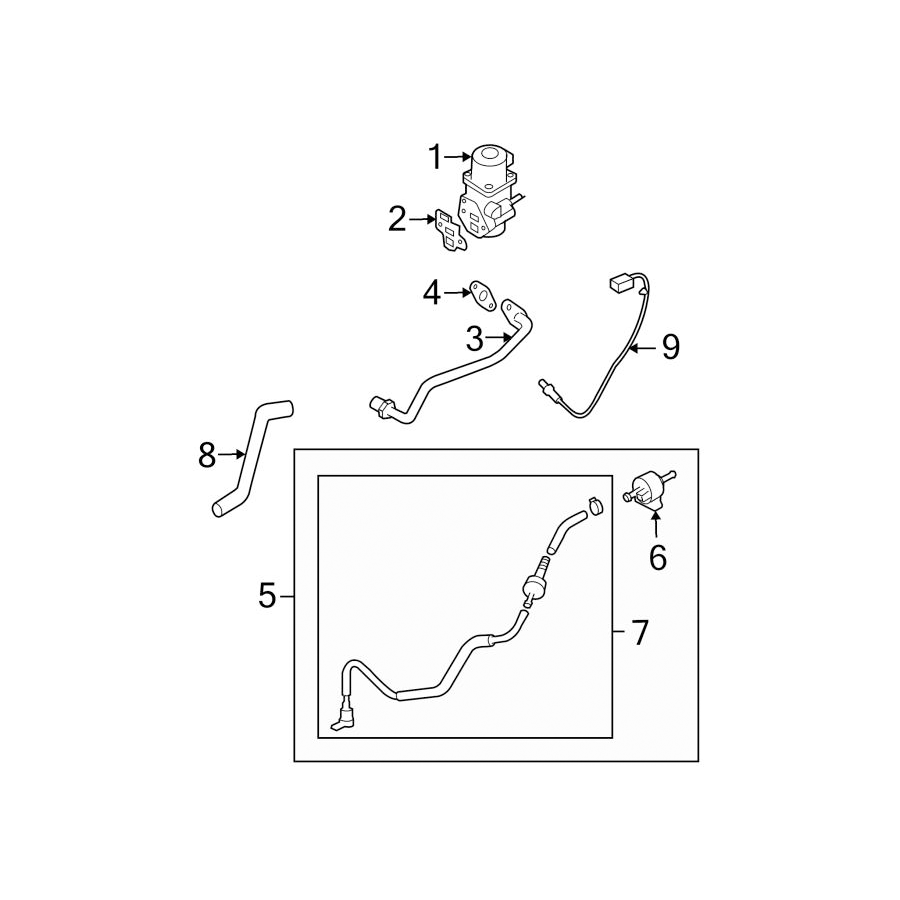
Help keep your Mazdaspeed6's emissions at a proper level with a functioning EGR Valve. The EGR (Exhaust Gas Recirculation) valve helps direct the exhaust gases from the engine back into the combustion chambers of the engine, or to close and keep them from entering. Having a functioning EGR valve helps with your vehicle's emissions, and also with your vehicle's performance.
Details
Special Notes
1

